
VL Series Propulsion System
VL系列动力系统
VL系列动力系统
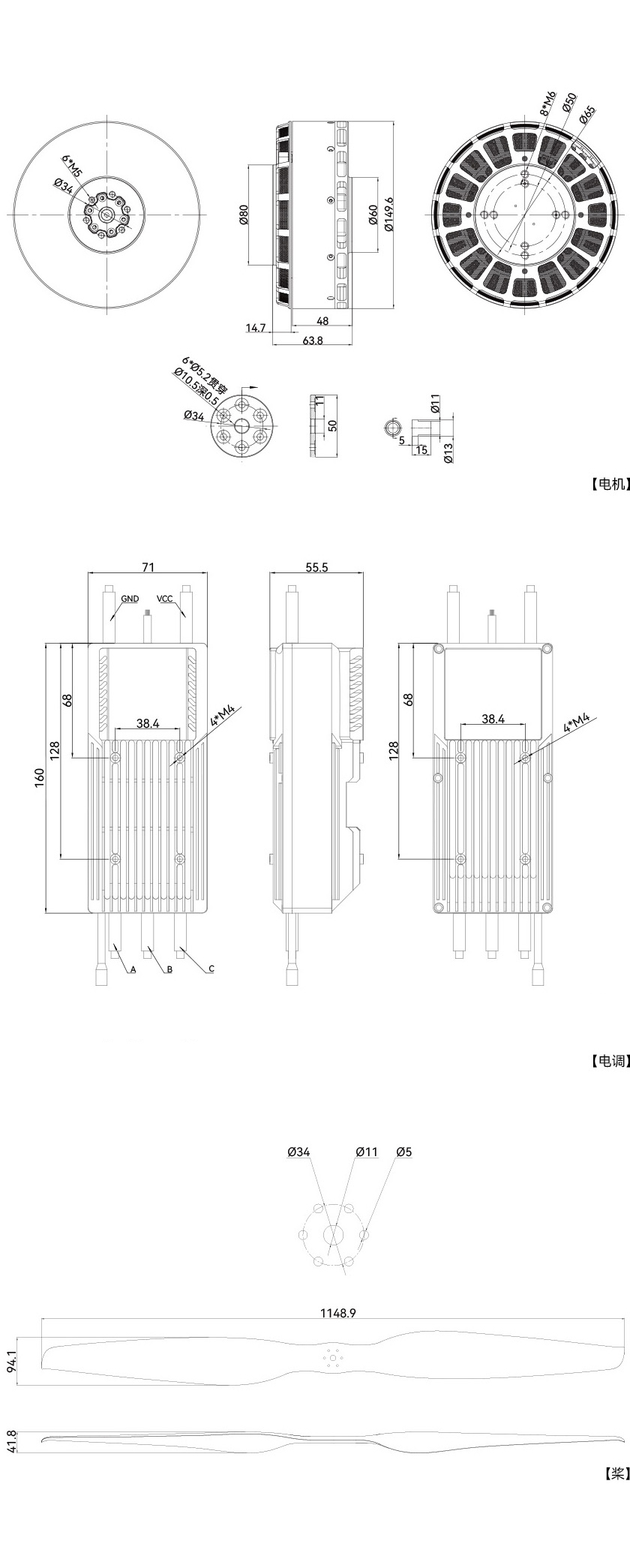
VL1380
KV60
KV60
电机
VL300A
电调
VZ45
桨叶

定桨快而省
快 (秒级定桨)
360°自定义角度定桨,能够有效避免旋翼旋转
带来的气流扰动,确保固定翼飞机的气动布局
不受影响,从而提升飞行安全性。
省 (自适应定桨)
根据外力的变化,电调通过调节电流大小
来控制定桨力矩,降低功耗同时减少发热,
达到节能效果。
*电机定桨功耗约10W。

IP45
新增防尘网,结合优化的电机结构,IP防护
等级提升至IP45,有效阻隔粉尘侵入,
保障绕组绝缘性能与使用寿命。

温度回传 实时监控
即使在高负荷工况下,电机运行也能稳定可控。
推 荐 配 置
24S
推荐电压
83kg
单轴最大拉力
140~150kg复合翼
推荐起飞重量 (四轴)
